Rubik R-08b B-Pilis

DONNÉES GÉNÉRALES
Année du premier vol
(ou de design, si seul projet)
1939
Pays Hongrie
Designer(s) RUBIK, Ernõ
Premier constructeur Aero Ever Kft., Esztergom
Type d'appareil Planeur
Fonction Entraînement

SPÉCIFICATIONS TECHNIQUES
Envergure 13.6 m
Longueur 6.64 m
Hauteur--
Allongement11.78
Surface alaire15.7 m2
Profil aileGö 533 (emplanture) W-339 (milieu) W-229 (saumon)
Masse à vide150 kg
Masse maxi250 kg
Charge alaire15.9 kg/m2
Vitesse mini--
Vitesse maxi160 km/h
Finesse maxi17
Taux de chute mini1 m/s
Nb sièges1
Structure--

[via Hungarian Gliders]
[via Hungarian Gliders]

AUTRES INFORMATIONS

Constructeur(s)
ConstructeurConstruits
Aero Ever Kft., Esztergom5
Nombre total de constructions5
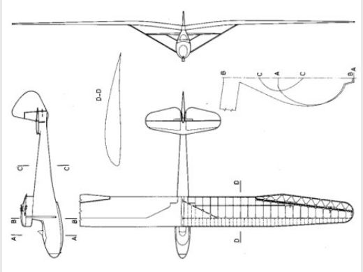
Infos techniquesAiles en mouette.
Histoire résuméeOne example of Wolf Hirth's Wolf had arrived to Hungary in 1937 and became very popular among glider pilots. Ernõ Rubik designed a new glider, the Pilis, to meet the demand for such kind of gliders. The new design was based on the line of Szittya gliders but with reduced dimensions. The first version, which later got the type designation of R-08a, had first flown on March 19, 1939. New versions followed and this type was one of the gliders built in greatest number in Hungary.
Instead of version R-08a "curved" fuselage this version got a straight-line outlined fuselage eliminating the disadvantage observed during flaring. The gull wing form of the previous version was retained. The first example of this version flew in 1939. 5 examples were built. The type was authorized for bungee-cord, aerotow and winch launching, cloud flying and basic aerobatics.
Liens personnalités Pas de personnalité associée.

SOURCES DOCUMENTAIRES

Liens WEBSite : Hungarian Gliders (site de Gábor Fekecs) . Texte + 2 photos + plan 3 vues + specs. (2010-06-03 CL)
LivresPas de livre référencé.

MODÈLES RÉDUITS

Pas de plan ou kit référencé.
Fiche n° 1660 [Dernière mise à jour : 2010-06-08]