Kolesnikov MKB-4

Autre nom (ou nom en langue originelle) : Колесников МКБ-4
DONNÉES GÉNÉRALES
Année du premier vol
(ou de design, si seul projet)
1933
Pays URSS
Designer(s) ROMEIKO-GURKO, D. A. & KOLESNIKOV, D. N.
Premier constructeur
Type d'appareil Planeur
Fonction Entraînement

SPÉCIFICATIONS TECHNIQUES
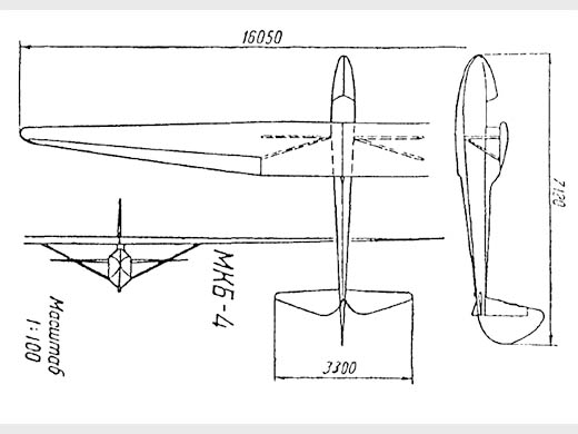
Envergure 16.05 m
Longueur 7.12 m
Hauteur 1.28 m
Allongement17
Surface alaire15.2 m2
Profil aileGöttingen 535
Masse à vide153 kg
Masse maxi233 kg
Charge alaire15.3 kg/m2
Vitesse mini--
Vitesse maxi--
Finesse maxi20.6
Taux de chute mini--
Nb sièges1
StructureBois et toile.

Pas de photo connue.
[Atlas konstruksiy planerov]

AUTRES INFORMATIONS

Constructeur(s)
ConstructeurConstruits
--
Nombre total de constructions--
Infos techniquesLe planeur est un monoplan parasol avec une aile trapézoïdale montée sur un pylône. Le cockpit était ouvert. Le profil de l'aile était G-535.
Histoire résuméeCe planeur d'entraînement monoplace, conçu par D.A.ROMEIKO-GURKO et D.N.KOLESNIKOV, a été dessiné par le Bureau d'études de Moscou [Московском конструкторском бюро] et construit en 1933.
Le planeur MKB-4 appartenait aux planeurs de taille moyenne et était proche du planeur "Ernst Telman" dans ses caractéristiques, mais s'en distinguait favorablement par la simplicité de sa construction et sa plus grande facilité d'utilisation.
Le planeur MKB-4 a montré de bonnes qualités de vol et une grande facilité de contrôle. Il a réalisé une performance significative avec un vol de durée de 23 heures.
Liens personnalités Pas de personnalité associée.

SOURCES DOCUMENTAIRES

Liens WEBSite : авиару.рф . Texte + plan 3 vues + specs. (2023-12-03 CL)
LivresAtlas konstruksiy planerov
par SHUSHURIN W. (1938) [p. 7, 9, 90, 94 . Note + plan 3 vues + specs].
Entsiklopediia Planery Rossii
par KRASILSHCHIKOV, A. P. (2005) [p. 67, 326. Mention + specs].

MODÈLES RÉDUITS

Pas de plan ou kit référencé.
Fiche n° 3352 [Dernière mise à jour : 2023-12-04]