Molchanov M-1

Autre nom (ou nom en langue originelle) : Молчанов М-1
DONNÉES GÉNÉRALES
Année du premier vol
(ou de design, si seul projet)
1933
Pays URSS
Designer(s) MOLCHANOV
Premier constructeur
Type d'appareil Planeur
Fonction --

SPÉCIFICATIONS TECHNIQUES
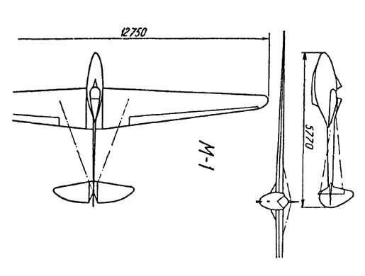
Envergure 12.75 m
Longueur 5.77 m
Hauteur--
Allongement12.4
Surface alaire11.08 m2
Profil aileR-IIa (P-IIa)
Masse à vide125 kg
Masse maxi205 kg
Charge alaire15.7 kg/m2
Vitesse mini--
Vitesse maxi--
Finesse maxi
Taux de chute mini--
Nb sièges1
StructureBois et toile.

[Pas de photo connue]
[Atlas konstruksiy planerov]

AUTRES INFORMATIONS

Constructeur(s)
ConstructeurConstruits
--
Nombre total de constructions--
Infos techniques--
Histoire résumée--
Liens personnalités Pas de personnalité associée.

SOURCES DOCUMENTAIRES

Liens WEBPas de site référencé.
LivresAtlas konstruksiy planerov
par SHUSHURIN W. (1938) [p. 16, 17, 90, 93. Note + plan 3 vues + specs].
Entsiklopediia Planery Rossii
par KRASILSHCHIKOV, A. P. (2005) [p. 117, 122, 326. Note + plan 3 vues + specs].

MODÈLES RÉDUITS

Pas de plan ou kit référencé.
Fiche n° 3356 [Dernière mise à jour : 2011-04-24]