Gribovsky Homeless Boy

Autre nom (ou nom en langue originelle) : Грибовского Беспризорник
DONNÉES GÉNÉRALES
Année du premier vol
(ou de design, si seul projet)
1933
Pays URSS
Designer(s) GRIBOVSKY, Vladislav K.
Premier constructeur
Type d'appareil Planeur
Fonction Expérimental

SPÉCIFICATIONS TECHNIQUES
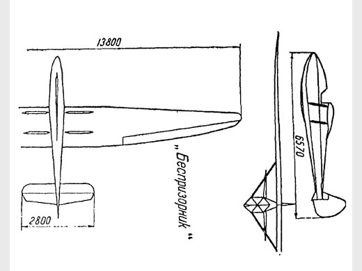
Envergure 13.8 m
Longueur 6.57 m
Hauteur 1.25 m
Allongement11.2
Surface alaire18.05 m2
Profil aile(То же)
Masse à vide261 kg
Masse maxi197.4 kg
Charge alaire11.6 kg/m2
Vitesse mini--
Vitesse maxi--
Finesse maxi15
Taux de chute mini1.06 m/s
Nb sièges2
StructureBois et toile

[Pas de photo connue]
[Atlas konstruksiy planerov]

AUTRES INFORMATIONS

Constructeur(s)
ConstructeurConstruits
--
Nombre total de constructions--
Infos techniques--
Histoire résuméeCe planeur a été construit en 1933 à l'initiative et sur un avant-projet de GRIBOVSKY. Le développement a été mené par une équipe du bureau d'études TsS Osoaviakhim, dirigée par G.F.TROSHEV. N'ayant pas le temps de terminer complètement la conception pour la 9ème réunion de vol à voile de Koktebel, l'équipe n'a pas utilisé l'aile qui avait été conçue à l'origine, mais une aile toute prête provenant d'un planeur de production Antonov "Upar". L'appareil a reçu son surnom de "Homeless Boy" ["Sans-Abri"] en raison de l'absence d'un certain concepteur, qui aurait pris soin de sa construction rapide. Il existe également une autre version de l'apparition du nom original, qui raconte la longue errance du planeur sur le chemin de fer en direction de la Crimée. Le nom curieux donné à ce planeur vient de ce que le concepteur ne trouvait pas d'organisme qui veuille mener à bien la construction dans des délais raisonnables.
Gribovsky, occupé par la préservation de l'IBC, ne pouvait pas consacrer suffisamment d'attention à l'appareil en construction à l'époque, il ne lui a donc pas donné son numéro de conception suivant, bien qu'il n'en ait pas nié la paternité.
Lors du 9ème rallye de l'aérodrome de Koktebel, le "Homeless Boy" a eu le plus long temps de vol de tous - 62 heures et 30 minutes. Après le rallye, le planeur a été remis à l'École supérieure de vol et de vol à voile (VLPSH), où il a été utilisé pendant longtemps pour former les pilotes de planeurs.
Les événements de 1933 pour Vladislav Gribovsky sont marqués par des succès, mais aussi par de nouveaux problèmes d'organisation. Au début de l'année, l'ICB est fermé, mais Gribovsky réussit à le faire réintégrer à son ancien emplacement et en redevient le directeur. L'ensemble du personnel, à l'exception du chef, se compose de deux concepteurs et de trois dessinateurs.
La petite mais sympathique équipe du bureau d'études, où les designers V.V. ABRAMOV et B.K. LANDYSHEV sont ses plus proches assistants, travaille de manière très fructueuse. En 1934, ils conçoivent un planeur biplace de voltige et de remorquage G-14, un planeur de sport G-15, un hydroplane G-16, un planeur de record G-17, un planeur modifié G-13bis, et commencent également à travailler sur la première version de l'avion "Duck". Mais ces machines devaient encore être construites en différents endroits, faute d'une base de production interne.
Liens personnalitésGRIBOVSKY, Vladislav Konstantinovich (URSS)

SOURCES DOCUMENTAIRES

Liens WEBSite : Альтернативная история . Note + plan 3 vues. (2023-03-02 CL)
LivresAtlas konstruksiy planerov
par SHUSHURIN W. (1938) [p. 4, 6, 51, 93, 96. Texte + plan 3 vues + specs].

MODÈLES RÉDUITS

Pas de plan ou kit référencé.
Fiche n° 3365 [Dernière mise à jour : 2023-03-02]