Caucase du Nord

DONNÉES GÉNÉRALES
Année du premier vol
(ou de design, si seul projet)
1933
Pays URSS
Designer(s) --
Premier constructeur
Type d'appareil Planeur
Fonction --

SPÉCIFICATIONS TECHNIQUES
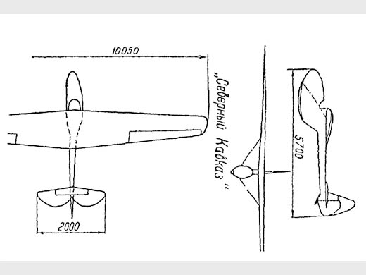
Envergure 10.05 m
Longueur 5.7 m
Hauteur 1.25 m
Allongement10.1
Surface alaire9.98 m2
Profil aileP-II
Masse à vide69.5 kg
Masse maxi149.5 kg
Charge alaire15 kg/m2
Vitesse mini--
Vitesse maxi--
Finesse maxi
Taux de chute mini--
Nb sièges1
StructureBois et toile.

[Pas de photo connue]
[Atlas konstruksiy planerov]

AUTRES INFORMATIONS

Constructeur(s)
ConstructeurConstruits
--
Nombre total de constructions--
Infos techniques--
Histoire résumée--
Liens personnalités Pas de personnalité associée.

SOURCES DOCUMENTAIRES

Liens WEBPas de site référencé.
LivresAtlas konstruksiy planerov
par SHUSHURIN W. (1938) [p. 13, 15, 90, 93. Note + plan 3 vues + specs].

MODÈLES RÉDUITS

Pas de plan ou kit référencé.
Fiche n° 3377 [Dernière mise à jour : 2011-04-26]