McDaniel Inflatable 1931

Autre nom (ou nom en langue originelle) : McDaniel Rubber Glider 1931
DONNÉES GÉNÉRALES
Année du premier vol
(ou de design, si seul projet)
1931
Pays USA
Designer(s) Mc DANIEL, Taylor
Premier constructeur Taylor Mc DANIEL, Washington D.C. (USA)
Type d'appareil Planeur
Fonction Expérimental

SPÉCIFICATIONS TECHNIQUES
Envergure--
Longueur--
Hauteur--
Allongement--
Surface alaire--
Profil aile--
Masse à vide--
Masse maxi--
Charge alaire--
Vitesse mini--
Vitesse maxi--
Finesse maxi
Taux de chute mini--
Nb sièges1
StructureStructure en caoutchouc gonflable

[Les Ailes n° 503]
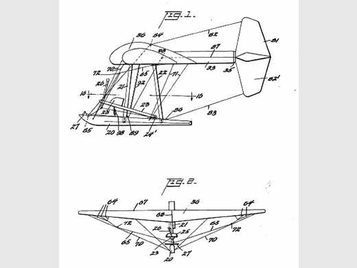
Extrait du brevet US 1905298

AUTRES INFORMATIONS

Constructeur(s)
ConstructeurConstruits
Taylor Mc DANIEL, Washington D.C. (USA)1
Nombre total de constructions1
Infos techniquesPlaneur gonflable.
Histoire résuméeLa première tentative connue pour concevoir, construire et faire voler un planeur en caoutchouc gonflable, puis un avion en caoutchouc à moteur, a eu lieu après un accident mortel dans la jungle brésilienne après la Première Guerre mondiale. L'accident, qui a entraîné la mort de son ami et partenaire a incité Taylor McDANIEL à construire un avion avec des tubes en caoutchouc gonflables pour protéger les passagers et le pilote en cas d'accident.
De retour aux États-Unis, McDaniel a travaillé sur son idée pendant plusieurs années et a finalement reçu un brevet pour un planeur à tube en caoutchouc gonflé qui a volé deux fois le 4 janvier 1931. Après avoir effectué quelques réglages de contrôle, un pilote de planeur expérimenté et ami de McDaniel, Joseph P. BERGLING, a piloté le planeur quatre fois de plus ce même jour.
Le 11 janvier, McDaniel a programmé un autre vol d'essai et une démonstration de presse pour les sociétés d'actualités, les journalistes et les photographes. Remorqué par un camion, le planeur a atteint une altitude de 100 pieds avant que le pilote éprouve des problèmes de contrôle. Il a réussi à atterrir en toute sécurité.
McDaniel a voulu annuler la démonstration et ramener l'avion à son magasin pour remettre en état le système de contrôle, mais un photographe qui avait manqué l'atterrissage a insisté pour une nouvelle tentative. Cette fois, le planeur avait atteint environ 80 pieds lorsque le pilote a perdu le contrôle. L'aile droite a heurté le sol dans une position presque verticale, l'effondrant. Lorsque le nez a frappé ensuite, l'aile est revenue à sa configuration d'origine, laissant le planeur intact. Le pilote d'essai n'a souffert que du talon droit meurtri et du genou gauche tordu. Un examen attentif du point d'impact a révélé qu'un seul câble avait été cassé dans l'accident.
Le deuxième effort de construction de McDaniel était un planeur en tube de caoutchouc gonflé en forme d'oiseau, principalement assemblé à partir de son premier avion avant qu'il ne soit à court d'argent. Mais lorsque la Grande Dépression a frappé les États-Unis en 1931 et 1932, paralysant l'industrie aéronautique, il est devenu pratiquement impossible de collecter des fonds pour un développement ultérieur. Taylor McDaniel est mort en 1952 à l'âge de 61 ans, toujours convaincu que son idée d'un avion en caoutchouc était un concept valable.
[Article paru dans Les Ailes N° 503 du 05.02.1931]
Voici un planeur en caoutchouc ! C'est le dernier cris en matière de vol à voile et ça nous vient d'Amérique. Les constructeurs - trois habitants de Washington - ont réalisé leur appareil entièrement avec des tubes en caoutchouc gonflés d'air. Cette construction semble présenter de gros avantages et résoudre définitivement certaines questions, telles que le problème de la variation de surface ou celui de l'avion à ailes battantes. On doit, en effet, pouvoir faire varier très facilement la surface en modifiant la pression de gonflage; de même, en gonflant et en dégonflant alternativement les ailes, on doit obtenir un bon appareil à ailes battantes. Mais ce n'est pas cela qui a séduit les inventeurs, c'est l'élimination des risques de casse, en cas de chute, et la très grande sécurité qui en résulte pour le pilote. Malheureusement, au cours d'un essai, le planeur est tombé de trente mètres de haut environ et si l'appareil n'a eu, effectivement, que des dégâts insignifiants, il a fallu, par contre, transporter d'urgence le pilote à l'hôpital. Encore une invention qui n'a pas donné tout ce qu'on en attendait !
Liens personnalités Pas de personnalité associée.
Compléments docs

SOURCES DOCUMENTAIRES

Liens WEBSite : The Aerodrome Forum . Infos et liens via Aerohydro (Paul Dunlop). (2019-02-03 CL)
Site : YouTube . Mc Daniel glider autotow. Vidéo 44" . (2019-02-03 CL)
Site : Fiddlers Green . Goodyear Inflatoplane - The Rubber Plane. Essais de Mc Daniel. Texte. (2019-02-03 CL)
Site : Bayou Renaissance Man . Weekend Wings #20: Inflatable Aircraft. Texte. (2019-02-03 CL)
LivresPas de livre référencé.
Autres sourcesThe rubber Flying Machines, par Ernest Stadvec, ESSCO 1980
Les Ailes N° 503, 05.02.1931, texte + 1 photo
Flying Machine, brevet US 1,905,298 du 25 avril 1933. Fichier Flying-Machine_1905298.pdf
The wrong Stuff, par Peter Garrison, Flying Mai 2005 p 105-107
"Popular Science" Janvier 1931, p 52
"Popular Science" Mai 1931, p 59

MODÈLES RÉDUITS

Pas de plan ou kit référencé.
Fiche n° 4270 [Dernière mise à jour : 2020-10-26]