Mouillard 1878

Autre nom (ou nom en langue originelle) : Mouillard 4ème essai
DONNÉES GÉNÉRALES
Année du premier vol
(ou de design, si seul projet)
1878
Pays France
Designer(s) MOUILLARD, Pierre-Louis
Premier constructeur
Type d'appareil Ultra-léger
Fonction Expérimental

SPÉCIFICATIONS TECHNIQUES
Envergure 16 m
Longueur--
Hauteur--
Allongement5.3
Surface alaire48 m2
Profil aile--
Masse à vide25 kg
Masse maxi85 kg
Charge alaire1.77 kg/m2
Vitesse mini--
Vitesse maxi--
Finesse maxi
Taux de chute mini--
Nb sièges--
Structure--

[Pas de photo connue]
[L'Empire de l'Air, 1881]

AUTRES INFORMATIONS

Constructeur(s)
ConstructeurConstruits
--
Nombre total de constructions--
Infos techniques--
Histoire résumée[Description tirée de l'ouvrage "L'Empire de l'Air"]
10 mars 1878. - Je vais mettre sur chantier. Je crains que ma mauvaise santé ne me permette de le mener à bien
A six mois.
Août 1879. - Une année et plus est passée, et je n'ai rien pu produire. Je me rends.
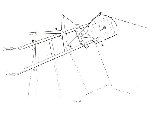
Voici ce que je voulais faire; c'est le même appareil que le troisième essai, mais perfectionné.
Je remplace les planches renforcées qui faisaient fonction de bras, par une espèce d'échelle double; ces planches étaient trop légères, pliaient, n'avaient pas une tenue suffisante. Elles sont à angle plus prononcé que ne l'étaient les planches précédentes; c'est pour donner plus de base à l'appareil.

Les points d'attache des ailes et de suspension du corps sont réunis, simplifiés, et offrent plus de sécurité.

Les attaches de bretelles et des courroies de suspension, qui étaient fixées aux bois, aussi près que possible de l'axe de flexion, sont maintenant fixées à l'âme même de la charnière; il n'y a donc plus de force perdue.
Ces attaches sont multiples pour pouvoir offrir toute la sécurité désirable.

L'espace destiné à recevoir le corps est toujours vaste, de manière à pouvoir permettre, sous l'action des bras, les déplacements du centre de gravité.

Après mûre réflexion je suis arrivé à trouver ce moyen de direction insuffisant, surtout pour les changements brusques de direction verticale. J'ai cru obligatoire de lui joindre la flexion des ailes, pour pouvoir manœuvrer sérieusement, et n'être pas à chaque instant en perdition et obligé de mettre l'appareil en V.

Le point difficile, l'écueil et la charnière. - J'en ai trouvé plusieurs très bonnes, mais trop compliquées. Tout bien réfléchi, une charnière simple peut suffire, à la condition d'y joindre l'appendice A qui fait levier et la fixe. Cette planchette fait office de main, les rémiges y sont fixées. Je les fais cette fois en gros joncs de 3 centim. de diamètre et longs de 2 mètres; on en colle deux ensemble et on les taille dans la forme désirable. Ces joncs sont bon marché, ils ne valent aux Indes que 50 cent. l'un.

Pour actionner la main, on peut se servir de ce système qui est tout à fait simple. Effectivement, en repoussant les manettes, on commence par se repousser soi-même contre la charnière arrière, ce qui fait reculer un peu le centre de gravité; puis, en forçant, l'aile est obligée de tourner sur le pivot P et le bout de l'aile est amené en avant, ce qui reporte en arrière le centre de gravité.

Ces deux mouvements se complètent, ils commandent même la queue, comme on peut le voir sur la figure d'ensemble. Cette queue a pour point d'attache les bouts des barres c, c'. Elles n'existaient pas dans l'essai précédent, je les ai ajoutées pour donner plus de stabilité à l'appareil. Les ailes sont actionnées par les bras qui ont des attaches en C pour les coudes, et en D pour les mains; ils feront plutôt leur partie dans la direction que dans les courtes ascensions qu'on pourra se permettre.

Comme il faut tirer parti de tout, qu'on peut avoir besoin, pour partir, de s'aider de quelques battements, j'ai pensé que les jambes et les reins, qui sont si puissants, pourraient donner la sustention pendant quelques instants; comme, par exemple, pour donner quelques coups d'ailes pour le départ ou l'arrivée, ou encore, pour accélérer la marche ou la soutenir au besoin, de manière à permettre un abordage commode.

Elles sont donc actionnées par les jambes, voici comment: A la chaussure sont fixés des étriers portant une boucle. A cette boucle viennent se fixer deux joncs par des pitons, qui ont leur attache à une partie résistante de l'aile, au point E. Comme, en les tirant, les pieds tendent à s'écarter, on les réunit au moyen d'un crochet et d'une boucle fixés à la hauteur de la malléole interne. D'un mouvement on peut les déclencher, ce qui alors rend la marche possible.
Ces deux joncs, qui sont réunis comme le serait un bâton qui serait fendu dans le sens de la longueur, transmettent la tension d'abaissement de l'aile sans difficulté; ils font alors l'effet de cordes. Quant à la pression de relèvement qu'ils ont à communiquer à l'aile, il se présente là une difficulté: il faut qu'ils remplissent l'office de barres rigides dans tous les cas autre que celui de l'abordage, ou ils doivent alors remplir le rôle de ressorts.

Pour obtenir ces deux effets divers et contraires, il faut pouvoir lier rapidement ces deux joncs: on y parvient en faisant glisser un anneau qui vient les unir. - Dans le cas d'abordage, on relève l'anneau au moyen d'une corde, et alors les deux joncs, pouvant s'écarter, esquivent ainsi les secousses terribles des atterrissements qui briseraient l'appareil.

Il y aurait encore à décrire une foule d'accessoires, tels que: engin pour éviter le trop grand écartement des ailes, moyen de les fixer dans une position de marche pratique, de manière à pouvoir prendre une position plus commode et plus rationnelle pour le vol, etc., etc.
Liens personnalitésMOUILLARD, Louis-Pierre (France)

SOURCES DOCUMENTAIRES

Liens WEBPas de site référencé.
LivresL'Empire de l'Air
par MOUILLARD, Louis-Pierre (1881) [p. 253-257. Notes + specs + schémas].

MODÈLES RÉDUITS

Pas de plan ou kit référencé.
Fiche n° 935 [Dernière mise à jour : 2021-09-27]